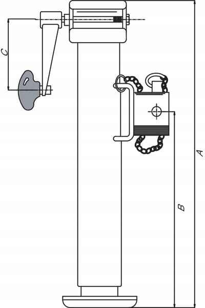
параметри < /b >
- номер деталі: STRLR3152
- блок: шт
- виробник: Simol
- l/h: 1300 кг
- Довжина важеля [C]: 110 мм
- Висота [B]: 406 мм
- Примітка: З'ЄДНАННЯ труби
- циліндр про: 57 мм
- хід: 370 мм
- загальна довжина [a]: 560 мм
- Вага: 7,1 кг < /ul>
застосування
- для будівельної техніки, караванів і причепів для легкових автомобілів
