опис продукту: < /b >
Wurth Одиночний набір Sensomatic
описдля системи DWD-Dynamic-XP е>
обсяг поставки:
- 1 x відкриває модуль
- 1 x блок живлення для 1 відкриває модуля
- 1 x монтажний комплект 100 мм
- 4 x передній бампер (діаметр 5 мм)
- 1 x Керівництво користувача
- 1 x картонний трафарет для отворів
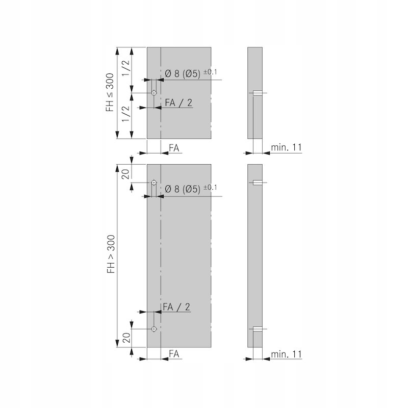
зазначені розміри не є обов'язковими. Можливі технічні зміни!е> технічна інформація
- бренд: Würth
- номер деталі: F121100983
- блок: шт.
- упаковка: 1 шт.
- призначений для: Nova Pro
