ШАТУН HOT RODS HR 8619 YAMAHA YZ WR 250 F 03-13

ШАТУН HOT RODS HR 8619 YAMAHA YZ WR 250 F 03-13

Що Ви шукаєте?

ШАТУН HOT RODS HR 8619 YAMAHA YZ WR 250 F 03-13

В наявності
Код товару:
13326632416
16678,00 грн
Основні параметри
Докладніше
Стан Новий
Номер за каталогом HR 8619
Опис
Шатун Hot Rods

параметри продукту:

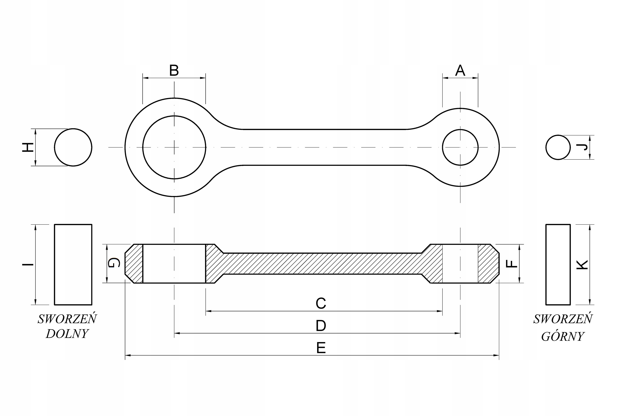
  • розмір підшипника - частина валу: 32x40x18 мм,
  • Діаметр отвору (B): 40,00 мм,
  • ширина шатуна (G): 18,00 мм,
  • відстань між центрами отворів (D): 93,50 мм,
  • діаметр штифта (H): 32.00 мм,
  • довжина штифта (и): 54.80 мм,
  • Діаметр отвору (а): 16.00 мм,
  • Ширина шатуна (f): 15.00 мм.

загальний опис:

  • міцні шатуни які відповідають якості OEM,
  • сертифікована сталь 8620 AISI забезпечує максимальну міцність,
  • шатуни виготовлені з гарячекатаної сталі ASTM 4115 і загартовані до твердості 58-62rc,
  • новітня конструкція голчастих підшипників з кліткою забезпечує довговічність при високих оборотах,
  • унікальний дизайн великий шип використовує стратегічно розташовані бічні канавки і вентиляційні щілини для мінімізації деформації доріжки кочення підшипника при високих оборотах,
  • маленькі кінці двічі просвердлені, щоб забезпечити додаткове підшипника штока шарніра, що особливо важливо, коли днище поршня знаходиться близько до підшипника штока шарніра,
  • Дробоструминна обробка для усунення поверхневих ліній натягу і плавного з'єднання радіусів кування штока поршня,
  • подвійна хонінгувальна обробка ультракругла поверхня підшипника для надійності на високих оборотах,
  • сумісна з колінчастими валами hot rods і OE,
  • made in U. S. a.,
  • шатун, виготовлений на заводі hot rods в Айові,
  • готовий до складання.

ціна вказана за комплект.

Підходить для:

:

  • Fantic TF 250 ES Caballero Enduro Six Days 4T 2013
  • Yamaha WR 250 F 2009
  • Yamaha YZ 250 F 4T 2009
  • Yamaha YZ 250 F 4T 2010
  • Yamaha WR 250 F 2010
  • Gas Gas EC 250 F Racing 4T 2013
  • Yamaha YZ 250 F 4T 2013
  • Yamaha WR 250 F 2013
  • Yamaha WR 250 F 2014
  • Gas Gas EC 250 F Cami 4T 2014
  • Yamaha WR 250 F 2008
  • Fantic TF 250 ES Caballero Enduro Six Days 4T 2014
  • Yamaha YZ 250 F 4T 50th Anniversary Limited Edition 2006
  • Fantic TF 250 ES 2015
  • Gas Gas EC 250 F 2014
  • Gas Gas EC 250 F 2015
  • Gas Gas EC 300 F 2013
  • Gas Gas EC 300 F 2014
  • Gas Gas EC 300 F 2015
  • Yamaha YZ 250 F 4T 2006
  • Yamaha WR 250 F 2011
  • Gas Gas EC 250 4T FSE 2010
  • Yamaha WR 250 F 2003
  • Yamaha WR 250 F 2004
  • Yamaha WR 250 F 2005
  • Yamaha WR 250 F 2006
  • Yamaha YZ 250 F 4T 2003
  • Yamaha YZ 250 F 4T 2004
  • Yamaha YZ 250 F 4T 2005
  • Yamaha YZ 250 F 4T 2011
  • Gas Gas EC 250 F Six Days 4T 2012
  • Gas Gas EC 250 F 4T 2011
  • Yamaha YZ 250 F 4T 2012
  • Yamaha WR 250 F 2012
  • Gas Gas EC 250 F 4T 2012
  • Yamaha YZ 250 F 4T 2007
  • Yamaha WR 250 F 2007
  • Yamaha YZ 250 F 4T 2008

84898-71883

Scroll To Top