опис продукту: < /b >
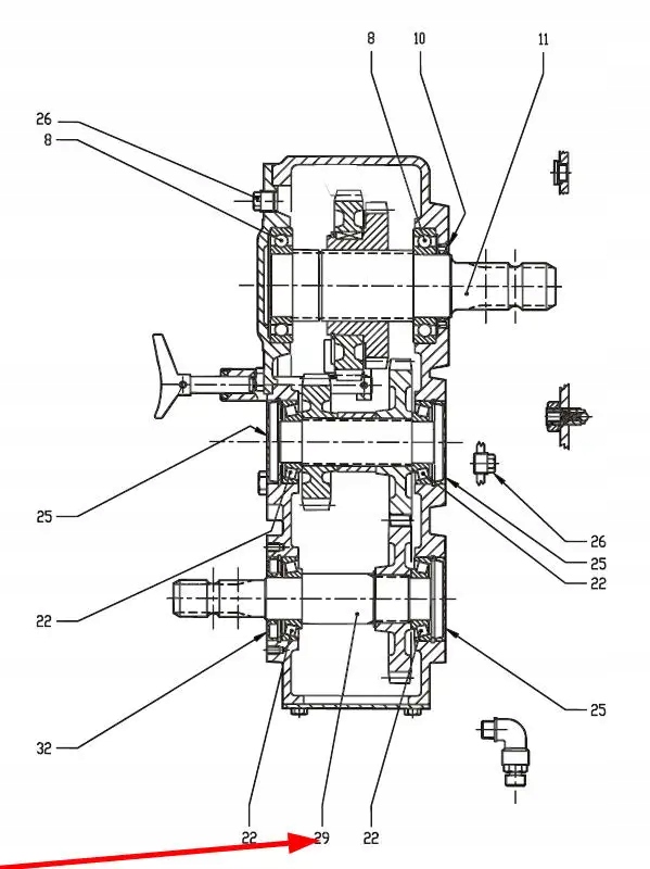
оригінальний фрезерований вал з каталожним номером 1315-9876, що використовується в сільськогосподарській техніці марки Stoll.е>
номер деталі: 1315-9876
Категорія: збір буряка-картоплі
виробник деталей: STOLL
Заміна: < /b >
бренд: інше
підходить для машини:
- кормова машина & gt; JF & gt; VM 10 B (передня стрічка)
- кормова машина & gt; JF & gt; VM 10 S (вузька версія)
- кормова машина & gt; JF & gt; VM 12 B (передня стрічка)
- кормова машина & gt; JF & gt; VM 14 2s
- кормова машина & gt; JF & gt; VM 6.5 S (вузька версія)
- кормова машина & gt; JF & gt; VM 8 S (вузька версія) вулик>
