04L 130 - 04l089h лиття під тиском AUDI A4 B9 2.0 TDI 2019

04L 130 - 04l089h лиття під тиском AUDI A4 B9 2.0 TDI 2019

Що Ви шукаєте?

04L 130 - 04l089h лиття під тиском AUDI A4 B9 2.0 TDI 2019

В наявності
Код товару:
15237870030
3978,00 грн
Основні параметри
Докладніше
Стан Б / у
Номер за каталогом 04L 130 764 D
Оригінальний номер деталі 04L089H, 04L 089 H, 04L130764D, 04L125G, 04L 125 G, 04L130764 D, 04L 130 764 D,
Опис

предметом продажу є:

лиття під тиском

стан дуже хороший

частина приходить від автомобіля:

AUDI A4 B9 8W AVANT

Код двигуна: DUEA

2.0 TDI

2019 рік

колір фарби: LY9B / l041

артикул: < /b >

04L089H

04l 089 H

04L125G

04л 125 г

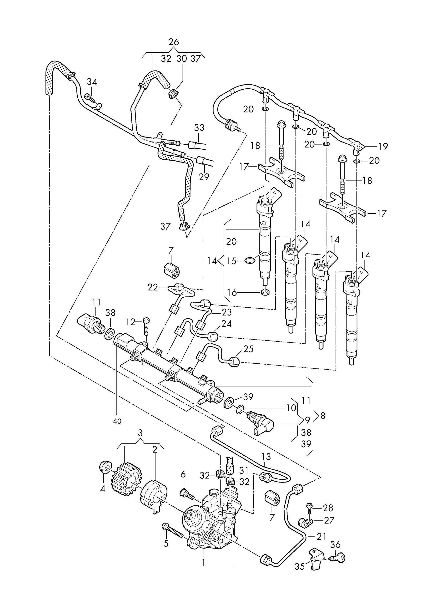
частина зображена на малюнку під номером: 40

Scroll To Top