PRO 36 МИНИ МАГНИТНАЯ ДРЕЛЬ

PRO 36 МИНИ МАГНИТНАЯ ДРЕЛЬ

Что вы ищете?

PRO 36 МИНИ МАГНИТНАЯ ДРЕЛЬ

В наличии
Код товара:
9553932752
48911,00 ₴
Основные параметры
Дополнительная информация
Состояние Новый
Описание
PRO 36 MINI WIERTARKA MAGNETYCZNA Producent code PRO 36MINI
PROMOTECH PRO36 МИНИ-дрель электромагнитная / magnesówka для фрезы 35 мм

технические характеристики:

  • Мощность: 920 вт
  • Напряжение питания: 230 В / 50 Гц
  • Шпиндель: 19 мм Weldon
  • Скорость вращения: 350 об/мин
  • Диаметр сверления фрезой: макс. 35 мм
  • глубина сверления фрезы: макс. 50 мм
  • сила сцепления соленоида: 9500n стат. разрыв
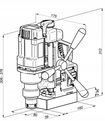
  • Размеры основания: 80 x 160 x 36,5 мм
  • рабочий Ход: 70 мм
  • Минимальная толщ. лист 6 мм
  • Масса: 10 кг

сверлильный станок PRO 36 MINI это небольшая компактная машина, предназначенная в первую очередь для работы на высотах, например, на стальных конструкциях или в труднодоступных местах. PRO 36 MINI имеет специальную систему направляющих на самосмазывающихся втулках, не требующую регулировки даже после длительного срока службы.

компактная конструкция и литой корпус обеспечивают машине высокую жесткость, что гарантирует хорошее качество отверстий. В качестве инструментов можно использовать только трепанационные фрезы в диапазоне от ø12 мм до ø36 мм, что в основном покрывает весь диапазон монтажных отверстий.п>

PRO 36 MINI WIERTARKA MAGNETYCZNA Mark Promotech
PRO 36 MINI WIERTARKA MAGNETYCZNA Power 920 W
Bb3feea24cb4b8f4a6bb25190a92
4e8f83ef4db69a389b405f75d2ff
комплект ПОСТАВКИ:
  • Дрель магнитная PROMOTECH PRO 36 мини
  • рукоятка ручки
  • цепь (ремень) безопасности
  • фреза, ключ шестигранный s=4,0
  • бак для сож
  • Кейс
  • Инструкция по эксплуатации
  • Paragon или FV
Scroll To Top