Диски с подшипником + колодки задние Peugeot 308 SW ABS

Диски с подшипником + колодки задние Peugeot 308 SW ABS

Что вы ищете?

Диски с подшипником + колодки задние Peugeot 308 SW ABS

В наличии
Код товара:
7476857574
9107,00 ₴
Основные параметры
Дополнительная информация
Состояние Новый
Номера заменяемых деталей DF6128BS,
Оригинальный номер детали 424946,
Описание

полный тормозной комплект для задней оси

в комплект входят:

  • полные тормозные диски (2 шт.)
  • интегрированный в диск подшипник (2 шт.)
  • интегрированное с диском кольцо ABS (2 шт.)
  • комплект тормозных дисков
  • комплект тормозных колодок (4 шт.)

бесплатно

  • профессиональная монтажная паста TEROSON

Peugeot 308 SW универсал (2007-2013г.) двигатель 1.4, 1.6, 1.6/2.0 HDi [4E,4H]

технические характеристики колодки SIEGER

  • каталожный номер:SIG51799
  • тормозная система: TRW
  • противоскользящие накладки:да
  • монтажный комплект:нет
  • датчик износа: nbsp;нет
  • утверждение:ECE-R90
  • сторона установки: задняя ось

oe номера

  • 4254 29
  • 4254 14
  • 4254 15

замена

  • TRW gdb1799
  • ATE 13.0460-2745.2
  • Bosch 0 986 494 304
  • < /ul >

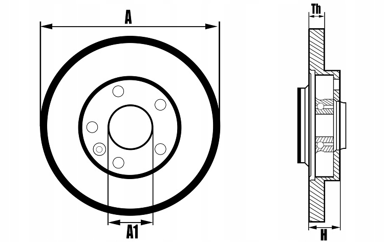
технические характеристики дисков с подшипником MIKODA

  • номер детали:MIK0568L
  • тип диска:твердый подшипник
  • количество монтажных отверстий: 4
  • наружный диаметр[A]: 268 мм
  • толщина [th]: 12 мм
  • минимальная толщина [Th min]: 10 мм
  • диаметр центрирующего отверстия [A1]: 74 мм
  • высота [h]: 65 мм

номера oe:

  • 424946
  • 424945

замена:

  • TRW df6128bs
  • Brembo 08.A729.17
  • ATE -