Защитные гайки для колес FORD 1/2

Защитные гайки для колес FORD 1/2 " X25 K19

Что вы ищете?

Защитные гайки для колес FORD 1/2 " X25 K19

В наличии
Код товара:
12791283561
4319,00 ₴
Основные параметры
Дополнительная информация
Состояние Новый
Описание

защита колес Ford гайки 1/2"x25 K19

специальная система для дисков с небольшими диаметрами гнезд крепежных отверстий, в которых для завинчивания требуются болты или гайки типа torx или Allen.

уникальность противоугонной системы McGard заключается в том, что гайка с шестигранной головкой в McGard заменена запатентованной формой, которую невозможно подделать, а открутить и прикрутить можно только с помощью специального набора гаечных ключей. Внешняя поверхность каждого болта и гайки McGard устойчива к развертыванию. McGard-признанная во всем мире самая эффективная защита колес от кражи.

  • набор включает в себя 4 гайки + один патентный ключ
  • обеспечивает высочайший уровень безопасности
  • имеет сотни различных кодов ключей
  • изготовлен в специальных хромированных покрытиях с превосходными антикоррозийными свойствами
  • качество, превышающее требования заводского оборудования OEM
  • система, гарантирующая отсутствие доступного универсального ключа

параметры:

  • бренд:McGard
  • номер бренда:25230TWN
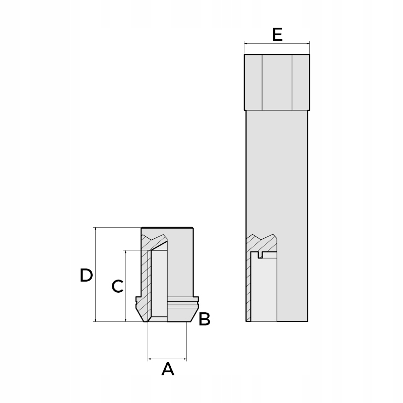
  • резьба "A":1/2" UNF
  • тип "B":конус 60°
  • рабочая длина "C" [мм]:25
  • общая высота "d" [мм]:
  • ключ "E" [мм]:19
  • внешний диаметр "F" [мм]:20,2
  • класс прочности:
  • < /ul>

применение:

литые диски заводского оборудования:

  • Ford Edge 2006-2010 (XXX)
  • Ford Edge 2012-2015 (XXX)
  • Ford Explorer 2011-2019 (U502)
  • Ford Mustang 1994-2004 (SN-95)
  • Ford Mustang 2005-2014 (S197)

важно! при установке стопорных гаек колеса убедитесь, что выбранная гайка системы McGard правильная:

- размер резьбы (после откручивания оригинального крепежного элемента колеса гайка McGard должна свободно вкручиваться без какого-либо тревожного сопротивления)

- тип посадочной поверхности (коническая, сферическая, плоская – форма должна соответствовать исходному элементу, вывернутому из круга)

- размер гаечного ключа для аварийного отвинчивания и завинчивания колеса (должен соответствовать тому, которым был оборудован автомобиль производителем)

- длина рабочей резьбы (должна быть не меньше длины,соответствующей диаметру резьбы крепежного элемента, например, для M12x1.5 требуется не менее 12 мм резьбы).

внимание! выполните пробную установку одной контргайки на каждое колесо с нормальным усилием затяжки.

для гаек открутите все контргайки McGard и обратите внимание на поверхность посадки / прилегания каждой контргайки. Если на поверхности крепления обода и гайки не осталось следов крепления, это означает, что гайка имеет слишком мелкую резьбу и опиралась на штифт ступицы, прежде чем прижимать обод к ступице колеса!

американская компания McGard является единственной, кто предоставляет пожизненную гарантию на ключи!

  • защитные комплекты McGard < /B> обычно состоят из четырех болтов или гаек. Ими мы заменяем крепежные элементы заводского оборудования автомобиля, откручивая один оригинальный болт / гайку в колесе и вместо него вкручивая системный болт/гайку из комплекта McGard.
  • их уникальность заключается в том, что стандартный шестигранник болта или гайки колеса в случае элемента McGard заменяется запатентованной формой, которую можно открутить и прикрутить только с помощью специального ключа, предназначенного для каждого набора.
  • запатентованный образец системы McGard , напоминающий цветок, имеет наибольшее количество комбинаций на рынке безопасности – несколько сотен и генерируется компьютером. Каждый оригинальный комплект безопасности McGard содержит карточку с идентификатором набора в виде наклейки - 17/18 цифр кода комплекта безопасности, который понадобится при заказе нового ключа в случае его утери (подробности: закажите ключ McGard).
  • точность исполнения McGard и степень сложности шаблона делают невозможным создание или создание так называемого универсального ключа (в отличие от систем конкурирующих компаний с всего лишь кликом, максимум дюжиной комбинаций).
  • внешняя поверхность крепежного элемента McGard устойчива к развертыванию, а в комплектах SL (Hi Security) используется дополнительный элемент защиты, наружное вращающееся кольцо, устойчивое к раздавливанию, и захватные инструменты!
  • все это делает так, что воры без специальных инструментов, больших навыков и необходимого высокого уровня шума не смогут в кратчайшие сроки форсировать охрану McGard и демонтировать колесо.
  • решение McGard признано во всем мире как наиболее эффективная защита колес от кражи. 
  • доказательством признания McGard является тот факт, что защита колес этой марки является OEM-оборудованием на самых престижных моделях автомобилей.
  • подтверждением эффективности безопасности McGard является также тот факт, что Stylauto (главный партнер и дистрибьютор бренда) не сообщал о краже колес в течение 30 лет, несмотря на установку противоугонного комплекта McGard.

защита McGard , одобренная Thatcham для механических колесных замков, которые затрудняют кражу воров, тем самым удовлетворяют условию:

- надежность и долговечность

- иметь безопасную процедуру замены ключа

- прослеживаемость продукта

- сопротивление атакам

за эти годы McGard собрал десятки наград за свое качество от автомобильных компаний со всего мира. Штаб-квартира в США сертифицирована ISO/TS 16949, которая включает и превосходит уже имеющиеся сертификаты ISO 9000 и 9001. Для компании забота об окружающей среде также имеет большое значение-в системе экологического менеджмента McGard соответствует стандартам ISO 14001:2004.

интересным и одновременно доказательством доверия к системам и бренду McGard является также тот факт, что после 11 сентября клиентами компании являются крупнейшие аэропорты (включая Франкфурт), музеи (m.in. Лувр), телекоммуникационные и ИТ-компании, а также управляющие трубопроводами, элементами инфраструктуры и уличным оборудованием, системами контроля доступа, считывателями карт и многим другим, для которых важным является защита имущества от вмешательства третьих лиц.

  1. идентификация на поверхности каждого изделия мы помещаем размер резьбы, номер детали и маркировку нашего бренда – чтобы Вы были уверены, что получаете качество и безопасность McGard.
  2. закаленная конструкционная сталь каждая гайка полностью закалена, что позволяет достичь максимальной твердости, необходимой для предполагаемого уровня безопасности (в отличие от поверхностного упрочнения).
  3. точность поверхности адгезии стандарт McGard для контактных поверхностей сопрягаемых элементов на 30% превосходит стандарты OEM. Это обеспечивает более равномерное распределение сил и нагрузок, возникающих на контактных поверхностях, и равномерное размещение крепежного элемента колеса.
  4. ограничительный химический состав стали для полностью автоматизированного производственного процесса используется строго химически подобранная сталь, изготовленная специально для McGard. Принятые в этом отношении специальные внутренние стандарты обеспечивают целостность конструкции каждого изделия McGard.
  5. Лучшее хромирование в промышленности лучший в отрасли процесс McGard включает три слоя никеля и один слой микропористого хрома. Первый слой никеля устойчив к коррозии, второй придает блеск, а третий вместе с микропористым слоем хрома защищает от разрушительных факторов внешней среды.
  6. точность изготовления резьбы целостность сердечника и точная обработка обеспечивают высочайшую эффективность в отрасли. Все болты и гайки McGard соответствуют или превышают самые высокие стандарты нагрузки OEM, от 135 000 до 160 000 фунтов на квадратный дюйм.

в случае утери или уничтожения ключа McGard укажите индивидуальный кодовый номер, который прилагается к каждому набору. С поврежденным ключом вы получите новый бесплатно-McGard-единственная компания в мире, предоставляющая пожизненную гарантию на этот комплект!