Фаркоп SKODA FABIA I 2000-2007 гг.

Фаркоп SKODA FABIA I 2000-2007 гг.

Что вы ищете?

Фаркоп SKODA FABIA I 2000-2007 гг.

В наличии
Код товара:
16786041564
8501,00 ₴
Основные параметры
Дополнительная информация
Состояние Новый
Продюсер Авто-крюк
Описание
Hak holowniczy SKODA FABIA I 2000-2007 Uciąg 1000 kg

SKODA FABIA I фаркоп [4 двери] (6Y)] модельный год с 07.2001 по 12.2007, откручиваемый (тип H12)

Годы: 2001, 2002, 2003, 2004, 2005, 2006, 2007

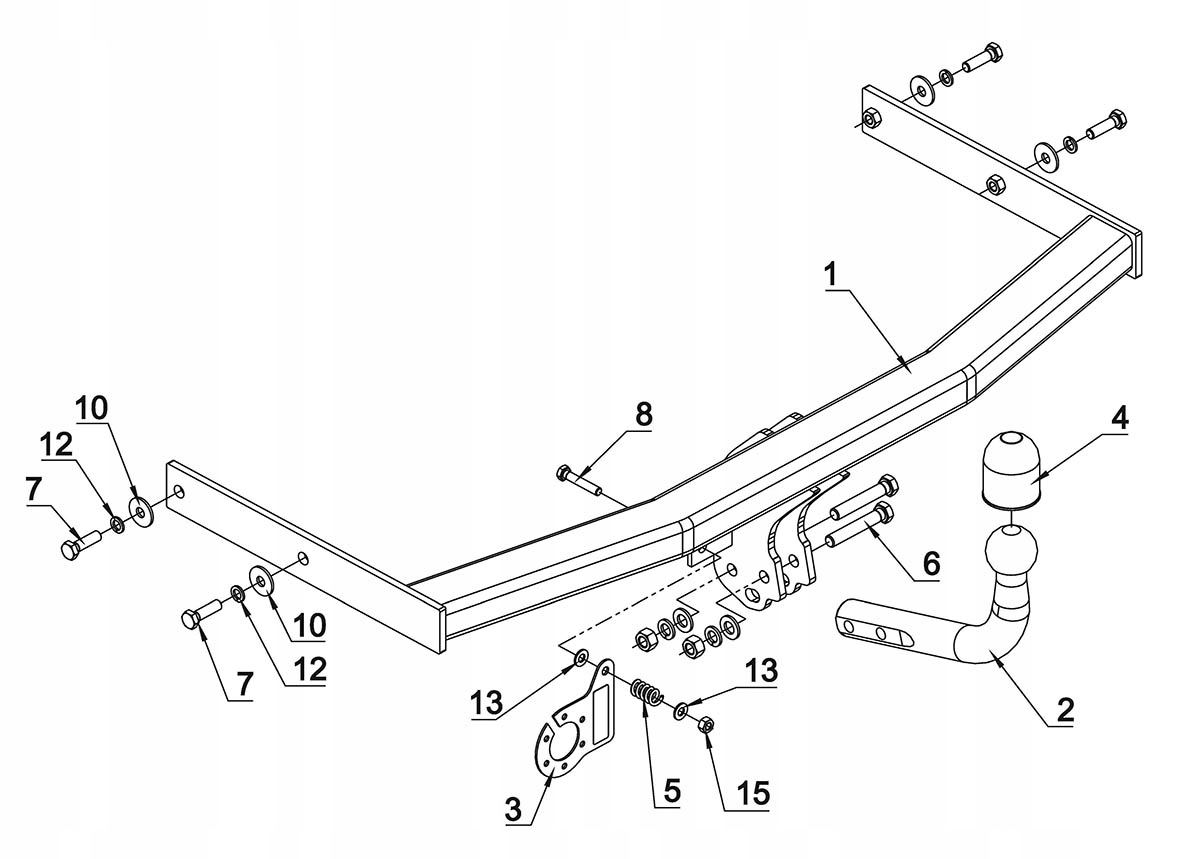
В КОМПЛЕКТ ВХОДЯТ:

  •  балка фаркопа
  •  шар с креплением
  •  кронштейн и поперечины
  •  винты и гайки
  •  Инструкции
Hak holowniczy SKODA FABIA I 2000-2007 Stan opakowania oryginalne

Не забудьте добавить соответствующий электрический жгут!!!

Просто нажмите и добавьте в корзину — комплекты на выбор находятся внизу этого аукциона, в нашей серии товаров или ищите набор крючка с комплектом среди наших аукционов

Информация о товаре:

  • Модель фаркопа: Съемный фаркоп [AH-S]
  • Марка автомобиля: SKODA
  • Модель автомобиля: FABIA I
  • Версия автомобиля: 4 двери (6 лет)
  • Год автомобиля: 07/2001-12/2007
  • Код фаркопа: H12
  • Шаровая система: отвинчивающаяся
  • Европейский сертификат: E20-55R-01 0677
  • Снятие бампера: да
  • Разрез бампера: да
  • Максимальная буксировочная способность: 1000 кг
  • Давление на мяч: 50 кг
Hak holowniczy SKODA FABIA I 2000-2007 Rodzaj kuli Odkręcana
Hak holowniczy SKODA FABIA I 2000-2007

САМЫЕ ВАЖНЫЕ ХАРАКТЕРИСТИКИ:

  • Качество по лучшей цене
  • высокое качество продукции, подтвержденное сертификатами ISO 9001
  • Долговечность, подтвержденная дополнительной усталостью тесты
  • Полный монтажный комплект с инструкцией
  • Европейское одобрение
Hak holowniczy SKODA FABIA I 2000-2007
Hak holowniczy SKODA FABIA I 2000-2007 Stan opakowania oryginalne
Hak holowniczy SKODA FABIA I 2000-2007 Producent Auto-hak
Hak holowniczy SKODA FABIA I 2000-2007 Uciąg 1000 kg
Hak holowniczy SKODA FABIA I 2000-2007 Rodzaj kuli Odkręcana
Scroll To Top