51481972245 - OE BMW звукоизоляция Mute капот 3 E30 до 1989 года

51481972245 - OE BMW звукоизоляция Mute капот 3 E30 до 1989 года

Что вы ищете?

51481972245 - OE BMW звукоизоляция Mute капот 3 E30 до 1989 года

В наличии
Код товара:
13435125500
5046,00 ₴
Основные параметры
Дополнительная информация
Состояние Новый
Номер детали 51481972245
Номера заменяемых деталей 51481972245,
Оригинальный номер детали 1972245,
Описание

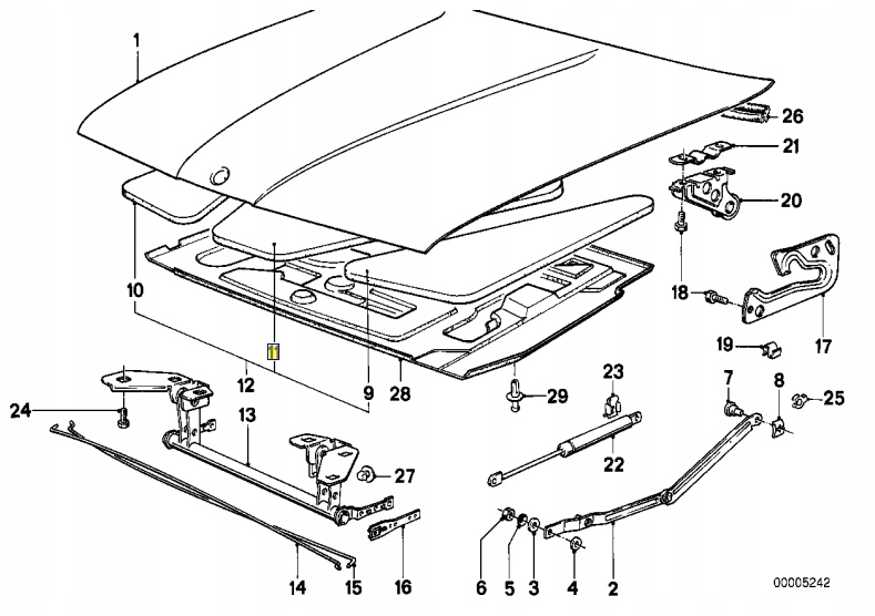
предметом продажи является новый звукоизоляционный капот - оригинальный продукт BMW !

артикул OE:

51481972245

на схеме пункт № 11

BMW 3 E30

для выпускаемых до 03.1989 г. < /b >

- подтверждение применения по номеру vin !

Scroll To Top